domov > Izdelki > Vijak > Vijak s šestrobo glavo > Šestrobi vijak z visokim navorom
        Šestrobi vijak z visokim navorom
        • Šestrobi vijak z visokim navoromŠestrobi vijak z visokim navorom
        • Šestrobi vijak z visokim navoromŠestrobi vijak z visokim navorom

        Šestrobi vijak z visokim navorom

        navojni konec šesterokotnega vijaka z visokim navorom ima obliko korena v obliki loka, kar mu omogoča, da prenese večji navor. Njegova šesterokotna glava omogoča enostavno namestitev in odstranitev, zaradi česar se pogosto uporablja v gradbenih projektih. Xiaoguo je proizvajalec pritrdilnih elementov z več kot 30-letnimi izkušnjami.

        Pošlji povpraševanje

        Opis izdelka

        Šestrobi vijaki z visokim navorom so zelo pogosti v gradbeništvu – ti skupaj držijo jeklene okvirje, mostove in montažne zgradbe. Ohranjajo tramove in stebre lepo in varno. Prav tako jih lahko vidite povsod na avtomobilih, uporabljajo se za pritrjevanje komponent, kot sta motor in šasija. Uporabljajo se tudi v težkih strojih in kmetijski opremi, saj lahko izjemno dobro prenesejo močne vibracije in spremenljive obremenitve. Delujejo zanesljivo pod obremenitvijo in so vrsta univerzalnega pritrdila. V številnih inženirskih in industrijskih aplikacijah jim zaupajo, da ustvarijo močne, a snemljive priključne točke, ki zagotavljajo varnost in vzdržljivost za vsak projekt.

        Predstavitev materiala izdelka

        Material, iz katerega je narejen šestrobi vijak, je zelo pomemben za njegovo delovanje, kako dolgo traja in ali ustreza določenim okoljem. Najpogostejši šesterokotni vijaki so izdelani iz ogljikovega jekla - dobro uravnoteži moč in cenovno dostopnost za splošno uporabo. Če potrebujete večjo odpornost proti koroziji, je šestrobi vijak z visokim navorom iz nerjavečega jekla, kot sta razreda 304 ali 316, dobra izbira. Dobro delujejo v pomorski, kemični in živilskopredelovalni industriji. Ko je vreme vroče ali potrebujete nemagnetne izdelke, bodo ljudje izbrali medeninaste ali bronaste šestrobe vijake.对Za zahtevnejša opravila – na primer v vesolju ali drugih pomembnih projektih – ljudje uporabljajo šestrobe vijake iz zlitin visoke trdnosti, kot je titanova zlitina ali zlitina Inconel. Ti materiali imajo visoko trdnost, zmerno težo in lahko izjemno dobro prenesejo visoke temperature in korozijo

        Seja vprašanj in odgovorov

        S katerimi mednarodnimi standardi so v skladu vaši šestrobi vijaki z visokim navorom? Kakšne stopnje intenzivnosti so na voljo za izbiro?

        Naši šestrobi vijaki z visokim navorom ustrezajo splošnim mednarodnim standardom, kot so ISO 4014, ISO 4017, DIN 933, DIN 931 in ASTM A307. Ko gre za stopnje moči, imamo razreda 4,8 in 8,8. Na voljo imamo tudi močnejše: 10,9 in 12,9. Vsak vijak ima jasno oznako za enostavno identifikacijo. Na ta način dobite pravi, certificiran izdelek za vaše posebne strukturne ali strojne potrebe, ki zagotavlja varnost in učinkovitost.


        High Torque Hexagonal bolt6

                                                                                                                                                                                                           mm
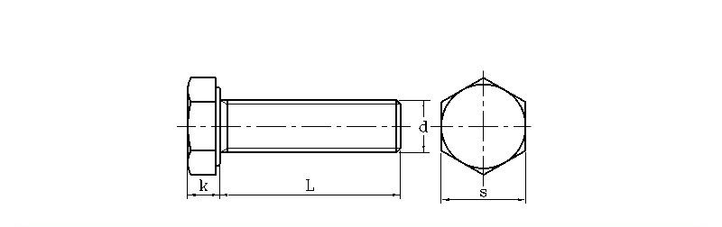
        d S k d nit
        maks min maks min maks min
        M3 5.32 5.5 1.87 2.12 2.87 2.98 0.5
        M4 6.78 7 2.67 2.92 3.83 3.98 0.7
        M5 7.78 8 3.35 3.65 4.82 4.97 0.8
        M6 9.78 10 3.85 4.14 5.79 5.97 1
        M8 12.73 13 5.15 5.45 7.76 7.97 1.25
        M10 15.73 16 6.22 6.58 9.73 9.96 1.5
        M12 17.73 18 7.32 7.68 11.7 11.96 1.75
        M14 20.67 21 8.62 8.98 13.68 13.96 2
        M16 23.67 24 9.82 10.18 15.68 15.96 2
        M18 26.67 27 11.28 11.7 17.62 17.95 2.5
        M20 29.67 30 12.28 12.71 19.62 19.95 2.5

        Hot Tags: Šestrobi vijak z visokim navorom
        Povezana kategorija
        Pošlji povpraševanje
        Prosimo, oddajte svoje povpraševanje v spodnjem obrazcu. Odgovorili vam bomo v 24 urah.
        X
        Piškotke uporabljamo, da vam ponudimo boljšo izkušnjo brskanja, analiziramo promet na spletnem mestu in prilagodimo vsebino. Z uporabo te strani se strinjate z našo uporabo piškotkov. Politika zasebnosti
        Zavrni Sprejmi